Мы используем cookie для наилучшего представления нашего сайта. Подробнее об этом в Политике конфиденциальности.
Ок

Анапа

Ваш город:
Анапа (Краснодарский край)?
Нет
Да
Каталог
Каталог Написать в WhatsApp
Мотоэкипировка

Редуктор (часть 2) 4-Х ТАКТНОГО ПЛМ SEA-PRO F2.5P

Редуктор (часть 2) 4-Х ТАКТНОГО ПЛМ SEA-PRO F2.5P в Краснодаре: актуальный каталог, цены, фото, описание. Купите редуктор (часть 2) 4-х тактного плм sea-pro f2.5p в кредит – оформите заявку онлайн за 1 минуту!

Оригинальные запчасти

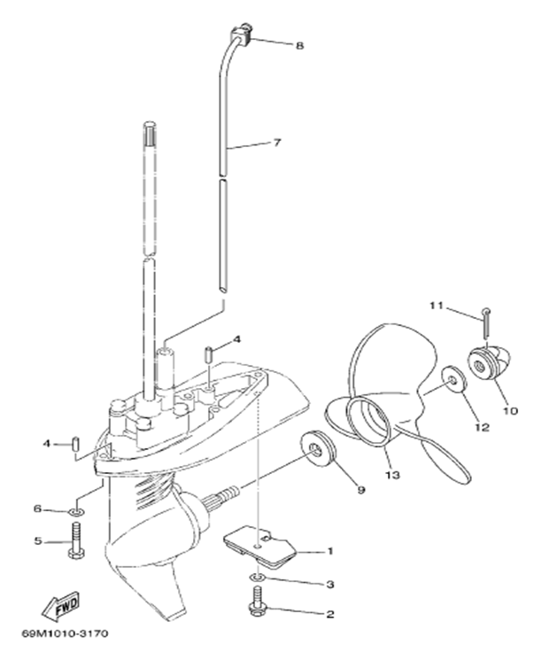
Артикул НАИМЕНОВАНИЕ Кол-во деталей в узле Примечание Наличие Цена Аналоги Фото
1 5MHS-11007 Анод

Под заказ

1

Под заказ

уточнить

Купить
2 15FMH-17011 Болт M6x30

Под заказ

1

Под заказ

уточнить

Купить
3 15FMH-17012 Шайба винта анода M6

Под заказ

1

Под заказ

уточнить

Купить
4 15FMH-02018 Болт с шайбой M6x30

Под заказ

3

Под заказ

уточнить

Купить
5 154-17007 Трубка охлаждения φ6.2x460

Под заказ

1

Под заказ

уточнить

Купить
6 154-17008 Сальник трубки охлаждения φ6.2×φ9.5×7

Под заказ

1

Под заказ

уточнить

Купить
7 5MHS-11049 Шайба винта опорная

Под заказ

1

Под заказ

уточнить

Купить
8 5MHS-11050 Гайка винта

Под заказ

1

Под заказ

уточнить

Купить
9 3MHS-16049 Шпонка крепления винта SEA-PRO 2.5

В наличии

1

В наличии

80

440

Купить
10 PNFM40E-12011 Шайба

Под заказ

1

Под заказ

уточнить

Купить
11 154-17013 Винт гребной

Под заказ

1

Под заказ

уточнить

Купить

Нулевая цена не означает отсутствие товара. Оформите заказ, и менеджер сообщит вам цену и наличие товара, предварительно запросив их у поставщика

Главная Магазины
Корзина0
Профиль