Мы используем cookie для наилучшего представления нашего сайта. Подробнее об этом в Политике конфиденциальности.
Ок

Анапа

Ваш город:
Анапа (Краснодарский край)?
Нет
Да
Каталог
Каталог Написать в WhatsApp
Мотоэкипировка

Щиток приборов снегохода STELS МОРОЗ 600S/600L/600XL

Щиток приборов снегохода STELS МОРОЗ 600S/600L/600XL в Краснодаре: актуальный каталог, цены, фото, описание. Купите щиток приборов снегохода stels мороз 600s/600l/600xl в кредит – оформите заявку онлайн за 1 минуту!

Оригинальные запчасти

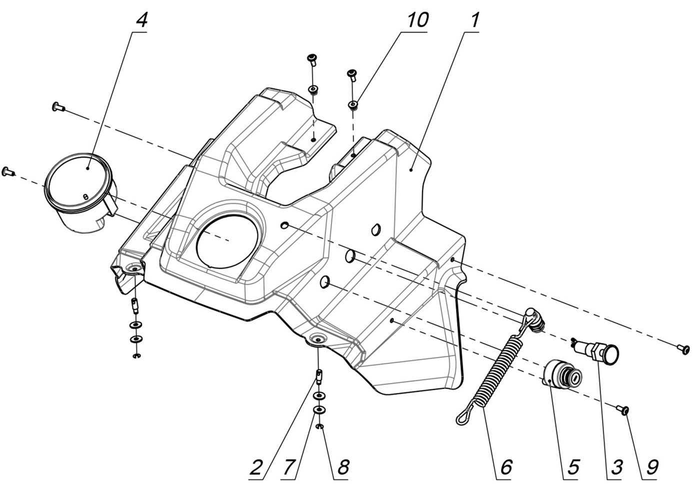
Артикул НАИМЕНОВАНИЕ Кол-во деталей в узле Примечание Наличие Цена Аналоги Фото
1 LU089003 Щиток приборов (белый) SR600-84020031

Под заказ

1

Под заказ

6 020

8 030

Купить
2 LU090937 Щиток приборов (черный)

Под заказ

1

Под заказ

4 490

7 270

Купить
3 LU080936 Насос подкачивающий Stels

Под заказ

1

Под заказ

4 210

6 020

показать аналоги Купить
4 LU088945 Спидометр электронный ПА8160-7 ПА8160-7

Под заказ

1

Под заказ

10 260

17 130

Купить
5 LU083854 Замок зажигания IG-SM501 IG-SM501

Под заказ

1

Под заказ

5 420

4 750

Купить
6 KS000077 Блок аварийной остановки двигателя, в сборе BW-SV117

Под заказ

1
для ЕРМАК 600
для ЕРМАК 600

Под заказ

2 710

8 530

Купить
7 LU068525 Шайба 6 DIN 9021.

В наличии

4

В наличии

40

140

Купить
8 JU084190 Винт М6х16 LI-FL10P

Под заказ

6

Под заказ

уточнить

Купить
9 JU052439 Гайка М6 DIN 6926

Под заказ

2

Под заказ

130

40

Купить

Нулевая цена не означает отсутствие товара. Оформите заказ, и менеджер сообщит вам цену и наличие товара, предварительно запросив их у поставщика

Главная Магазины
Корзина0
Профиль